Η Mazda προσπαθεί να επαναπροσδιορίσει το τι σημαίνει κινητήρας εσωτερικής καύσης στον 21ο αιώνα, προσθέτοντας λειτουργίες που θα μπορούσαν να μειώσουν τις εκπομπές CO₂ σχεδόν στο μηδέν, χωρίς να εγκαταλείψει το υπάρχον καύσιμο. Αν και η ιδέα έχει τεράστιο θεωρητικό ενδιαφέρον και υποσχέσεις, η πρακτική εφαρμογή της θα απαιτήσει λύση των τεχνικών, οικονομικών και δομικών προκλήσεων. Αν όλα πάνε καλά, αυτό το σχέδιο θα μπορούσε να λειτουργήσει ως γέφυρα για τα επόμενα χρόνια, ενόψει της μετάβασης προς τα ηλεκτρικά οχήματα, ή/και ως συμπλήρωμα σε υβριδικές λύσεις. Αλλά προς το παρόν, είναι ακόμη σε στάδιο έρευνας και ανάπτυξης.
Πώς λειτουργεί το σύστημα
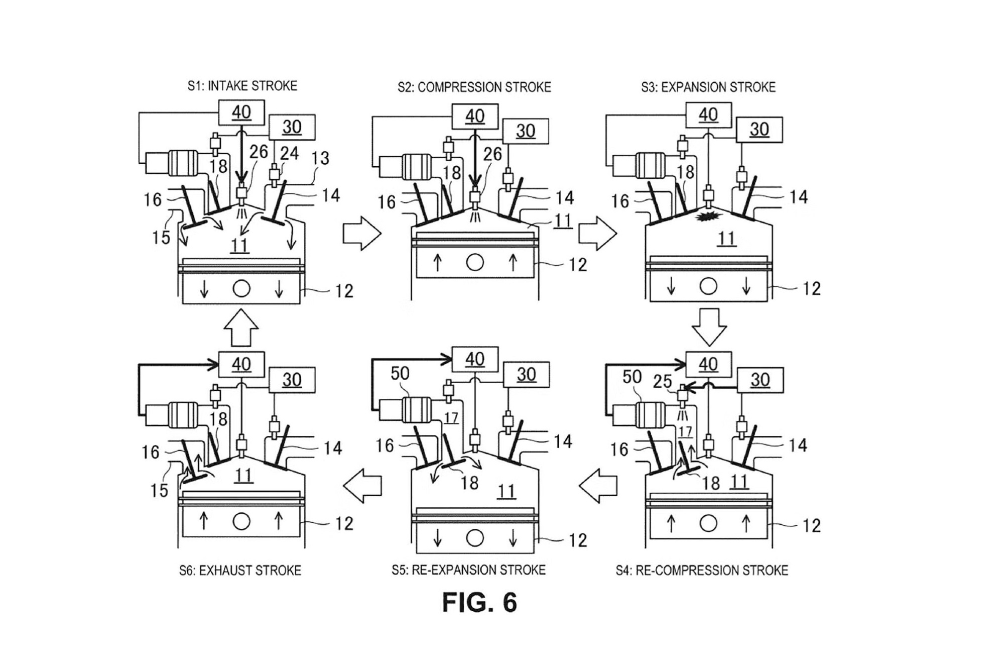
Η βασική ιδέα είναι να επεκταθεί ο παραδοσιακός τετράχρονος κύκλος (εισαγωγή – συμπίεση – καύση – εξαγωγή) με δύο επιπλέον φάσεις:
-
Ανασυμπίεση του εξαγόμενου καυσαερίου (recompression): αντί να απελευθερωθεί αμέσως στην ατμόσφαιρα, το εξαγόμενο αέριο περνά σε ειδική διαδρομή/βαλβίδα προς έναν «αποσυνθέτη» (decomposer).
-
Αποσύνθεση καυσίμου / reforming: μέσα σε αυτόν τον αποσυνθέτη, υπό υψηλές θερμοκρασίες και με τη δράση καταλύτη, εγχέεται επιπλέον βενζίνη, η οποία χωρίζεται σε υδρογόνο (H₂) και στερεό άνθρακα (C). Το υδρογόνο συλλέγεται και χρησιμοποιείται ως καύσιμο, ενώ ο άνθρακας δεσμεύεται (παραμένει στερεός) και αποθηκεύεται.
-
Επέκταση (re-expansion) και τελική εξαγωγή: Οι πέμπτη και έκτη φάση κάνουν επανακαύση (re-expansion) που χρησιμοποιεί τα υπολείμματα αερίων, και μόνο στην έκτη φάση γίνεται τελική εξαγωγή στην ατμόσφαιρα.
Πλεονεκτήματα και πιθανοί στόχοι
-
Ελαχιστοποίηση εκπομπών CO₂ από την εξάτμιση: αν όλα λειτουργούν όπως προβλέπεται, ο κινητήρας θα παράγει πολύ λιγότερο CO₂ στην εξάτμιση, επειδή μεγάλο μέρος του άνθρακα θα παραμένει δεσμευμένο.
-
Χρήση του ίδιου καυσίμου (βενζίνης): δε χρειάζεται κάποια εξωτερική παροχή υδρογόνου — ο κινητήρας το παράγει εσωτερικά από τη βενζίνη.
-
Διατήρηση υποδομών: Μειώνεται η ανάγκη για εξειδικευμένες υποδομές υδρογόνου ή ηλεκτρικά δίκτυα, καθώς η βάση παραμένει ο κινητήρας εσωτερικής καύσης.
Προκλήσεις και πιθανές αδυναμίες
Παρότι η ιδέα είναι πρωτότυπη και φιλόδοξη, υπάρχουν αρκετά εμπόδια πριν καταστεί πρακτική:
-
Πολυπλοκότητα κατασκευής: χρειάζονται επιπλέον βαλβίδες, διαδρομές για τα καυσαέρια και τον αποσυνθέτη, ειδικός καταλύτης, σύστημα αποθήκευσης υδρογόνου, και μηχανισμοί ελέγχου για τις διάφορες φάσεις.
-
Διαχείριση άνθρακα: ο στερεός άνθρακας που παράγεται πρέπει να αποθηκεύεται και να απομακρύνεται σε συνεργεία ή ειδικά σημεία. Αυτό προσθέτει βάρος, κόστος, και απαιτεί υποδομή.
-
Απόδοση και κατανάλωση: το σύστημα μετατρέπει ενέργεια (θερμότητα, καύσιμο) σε επιπλέον διεργασίες — πάντα υπάρχει ρίσκο ότι η κατανάλωση θα αυξηθεί, ή η συνολική αποδοτικότητα να μην είναι όσο μεγάλη όσο η θεωρία υπόσχεται.
-
Κανονισμοί/νομοθεσία: για να θεωρηθεί “μηδενικό CO₂”, θα πρέπει να καλυφθούν και άλλες πηγές εκπομπών (λαδιού, ψύξης, λίπανσης), και να πληρούνται οι αυστηρότεροι περιβαλλοντικοί κανονισμοί στην Ευρώπη και αλλού.
Πού βρίσκεται τώρα
-
Πρόκειται προς το παρόν για πατέντα που κατέθεσε η Mazda (με το όνομα ή τίτλο όπως “fuel reforming system for vehicle”) στην αρμόδια αρχή.
-
Δεν υπάρχει επίσημο χρονοδιάγραμμα για παραγωγή ή εφαρμογή του κινητήρα σε κάποιο μοντέλο.
.jpg)
Τι διαφορετικό προτείνει η Mazda
Η βασική διαφορά είναι αρχιτεκτονική: αντί για απλό τετράχρονο κύκλο, το σύστημα περιλαμβάνει δύο επιπλέον «χρόνους» οι οποίοι αξιοποιούν τα υπολείμματα των καυσαερίων. Οι άλλες προσεγγίσεις στην αυτοκινητοβιομηχανία που υπάρχουν σήμερα χωρίζονται κυρίως σε δύο ρεύματα όσον αφορά το υδρογόνο:
-
Καύση υδρογόνου σε συμβατικούς/τροποποιημένους κινητήρες — διαδρομή που ακολουθούν πειραματικά η Toyota και άλλοι: απευθείας χρήση H₂ σε εσωτερικής καύσης κινητήρες (ή τροποποιήσεις κινητήρων βενζίνης) ως τρόπο να μηδενιστούν οι ρύποι της εξάτμισης. Η Toyota παρουσιάζει πρωτότυπα και τεχνολογικά roadmaps που δείχνουν ενδιαφέρον για την καύση υδρογόνου αλλά και για συνδυαστικές λύσεις (fuel cells + combustion R&D).
-
Καύσιμα κυψέλης (fuel cell) — η προσέγγιση που προωθούν Toyota (Mirai), Hyundai, και σε κάποιες περιπτώσεις Honda και BMW, όπου το υδρογόνο μετατρέπεται ηλεκτροχημικά σε ηλεκτρική ενέργεια με εξαιρετικά χαμηλές εκπομπές απόβλητου (νερό). Τα fuel cells έχουν πλεονέκτημα στην ενεργειακή απόδοση σε σχέση με την απλή μηχανική καύση, αλλά απαιτούν δίκτυο ανεφοδιασμού και πράσινο υδρογόνο για να είναι πραγματικά καθαρά.
Πού τοποθετείται η Mazda σε σχέση με το υπόλοιπο πεδίο
Η τεχνική της Mazda είναι περισσότερο «εσωτερικά αυτοδύναμη» σε σχέση με τα fuel-cell: δεν χρειάζεται εξωτερική παροχή υδρογόνου, γιατί το παράγει από το ίδιο το καύσιμο του αυτοκινήτου. Αυτό της δίνει δύο προφανή πλεονεκτήματα: αποφεύγει (προς το παρόν) την τεράστια επένδυση υποδομών υδρογόνου και διατηρεί την οικειότητα της τεχνολογίας ICE για το aftersales και τα συνεργεία. Ωστόσο, είναι ένα περίπλοκο σύστημα με πρόσθετα μέρη (αποσυνθέτης, σύστημα αποθήκευσης άνθρακα, βαλβίδες ελέγχου κ.λπ.) και άγνωστες μακροπρόθεσμες συνέπειες στο βάρος, το κόστος και την αξιοπιστία.
Γιατί μερικοί κατασκευαστές επιλέγουν άλλο δρόμο
Η BMW, για παράδειγμα, έχει επενδύσει χρόνια σε έρευνα υδρογόνου αλλά επιμένει στην τεχνολογία κυψέλης για σειρά οχημάτων επειδή προσφέρει «καλύτερη» ενεργειακή απόδοση και μεγαλύτερη αυτονομία στη χρήση υδρογόνου σε σχέση με την καύση. Αυτοί που υποστηρίζουν τα fuel cells λένε ότι, μακροπρόθεσμα, όποια λύση παράγει και μεταφέρει «πράσινο» H₂ θα είναι πιο αποδοτική και πιο καθαρή.
Εμπόδια κοινά σε όλες τις επιλογές
-
Υποδομές ανεφοδιασμού H₂: ακόμα περιορισμένες και γεωγραφικά συγκεντρωμένες — πλεονέκτημα για όποια λύση αποφεύγει την ανάγκη τους, αλλά μακροπρόθεσμα πρόβλημα για ευρεία διάδοση.
-
Απόδοση και χάσιμο ενέργειας: η μετατροπή βενζίνης → H₂ → μηχανική ενέργεια έχει θερμικές/μετατροπικές απώλειες· η απόδοση των fuel cells συχνά κρίνεται ως καλύτερη σε «πηγή-προορισμό» για καθαρό υδρογόνο.
-
Κανονισμοί και πραγματικός «μηδενισμός» εκπομπών: ακόμα και αν η εξάτμιση είναι «καθαρή», όλο το υπόλοιπο κύκλωμα (παραγωγή καυσίμου, υπηρεσίες, αναλώσιμα) επηρεάζει τον συνολικό αποτύπωμα CO₂.
.jpg)
Όποια λύση και να επικρατήσει στο τέλος, το μόνο σίγουρο είναι πως σε μερικά χρόνια, τα αυτοκίνητα όπως τα ξέρουμε, δεν θα υπάρχουν. Επίσης, τουλάχιστο για την Ευρωπαϊκή αγορά, όλα αυτά μοιάζουν, too little too late, σε σχέση με την πρόοδο των ηλεκτρικών και μάλλον αποτελούν λύσεις για μέρη όπου ο ανεφοδιασμός με ρεύμα είναι αδύνατος.