Έχει περάσει πολύς καιρός από τότε που ο κόσμος της αυτοκινητοβιομηχανίας ασχολήθηκε με τους χρόνους-κύκλους καύσης, αλλά η Porsche επαναφέρει την «αμφισβήτηση» στον τετράχρονο κινητήρα, καταθέτοντας μία σειρά από πατέντες ευρεσιτεχνίας για έναν «εξάχρονο» κινητήρα. Μέχρι σήμερα η συντριπτική πλειοψηφία των κινητήρων που χρησιμοποιούνται στα αυτοκίνητα παράγουν έργο σε 4 κύκλους ή χρόνους. Ένας τετράχρονος κινητήρας απαιτεί τέσσερις «φάσεις» (ή δύο περιστροφές του στροφαλοφόρου άξονα) για να ολοκληρώσει έναν κύκλο ισχύος, κατά τον οποίο ο αέρας και το καύσιμο εισέρχονται στο θάλαμο καύσης, συμπιέζονται, καίγονται και εκτονώνονται για να μετατρέψουν την χημική ενέργεια σε παραγωγή έργου (ή αλλιώς παραγωγή ισχύος). Ένας δίχρονος κινητήρας, επιτυγχάνει την παραγωγή ισχύος με μία μόνο περιστροφή του στροφαλοφόρου άξονα κατά την οποία πραγματοποιούνται και οι 4 χρόνοι καύσης.
Η Porsche, ωστόσο, κατέθεσε αίτηση για δίπλωμα ευρεσιτεχνίας με τίτλο «Μέθοδος για μηχανή καύσης με δύο φορές τρεις χρόνους» (δηλαδή έξι χρόνους, με άλλα λόγια), τον περασμένο Φεβρουάριο, με την δημοσιοποίηση του από το Γραφείο Διπλωμάτων Ευρεσιτεχνίας και Εμπορικών Σημάτων των Ηνωμένων Πολιτειών στις 12 Σεπτεμβρίου. Η Porsche, ελπίζει πως με τους έξι χρόνους η απόδοση ενός κινητήρα θα είναι μεγαλύτερη από τον αντίστοιχο τετράχρονο κινητήρα. Ο στόχος φαίνεται να είναι η αύξηση της ισχύος, καθώς ο εξάχρονος κινητήρας έχει δύο διαδρομές ισχύος (ο 3ος χρόνος που ονομάζεται και χρόνος καύσης καθώς εκεί πραγματοποιείται η καύση του μείγματος) αντί για μία διαδρομή που διαθέτει ένας τετράχρονος κινητήρας. Αυτό σημαίνει μια διαδρομή ισχύος κάθε τρίτη περιστροφή του στροφαλοφόρου άξονα, αντί για κάθε τέταρτη περιστροφή, όπως σε έναν τετράχρονο κινητήρα. Οι λεπτομέρειες για το πώς λειτουργεί αυτό το σύστημα είναι εξαιρετικά περίπλοκες, αλλά η βασική προϋπόθεση για την περιστροφή του στροφαλοφόρου άξονα είναι η εξής: εισαγωγή - συμπίεση - δύναμη και στη συνέχεια συμπίεση - δύναμη - εκτόνωση καυσαερίων.

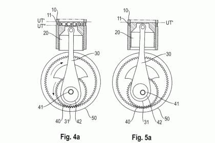
Το μυστικό για την πραγματοποίηση αυτής της νέας ανάφλεξης είναι ένας στροφαλοφόρος άξονας που περιστρέφεται γύρω από μια πλανητική διάταξη έκκεντρων γραναζιών, επιτρέποντας την εναλλαγή του σημείου περιστροφής και, με τη σειρά του, μειώνοντας την απόσταση που πρέπει να διανύσει το έμβολο μέχρι το κάτω νεκρό σημείο. Αυτός ο σχεδιασμός «εναλλασσόμενης απόστασης περιστροφής» αλλάζει επίσης την σχέση συμπίεσης του κινητήρα και σημαίνει ότι ο κινητήρας θα έχει δύο άνω και κάτω νεκρά σημεία. Η Porsche αναφέρει επίσης ότι ένας επιπλέον λόγος πίσω από τον σχεδιασμό είναι απλά να διατηρηθεί ο κινητήρας εσωτερικής καύσης. «Υπάρχει μια συνεχής προσπάθεια για τη βελτιστοποίηση της λειτουργίας των κινητήρων εσωτερικής καύσης ενόψει των συνεχώς αυξανόμενων απαιτήσεων για τη βελτίωση της ενεργειακής απόδοσης και άλλων λειτουργικών πτυχών των σύγχρονων κινητήρων εσωτερικής καύσης», αναφέρει το κείμενο από την κατάθεση της πατέντας.

Ερωτηματικό, ωστόσο, παραμένει αν αυτή η πατέντα πληροί τα κριτήρια για τα όρια των εκπεμπόμενων ρύπων και παραμένει άγνωστο αν αυτή η καινοτομία της Porsche θα μπορέσει κάποια στιγμή να εφαρμοστεί σε αυτοκίνητα παραγωγής.


